保时捷正研发可手动/自动自由切换的变速箱
发表于 2026-03-17
责任编辑:刘慧
保时捷已为一款可随驾驶者喜好,在手动与自动模式间切换的变速箱换挡机构申请全新专利。该车企于2024年8月向德国专利商标局提交申请,直至3月初才正式公开。

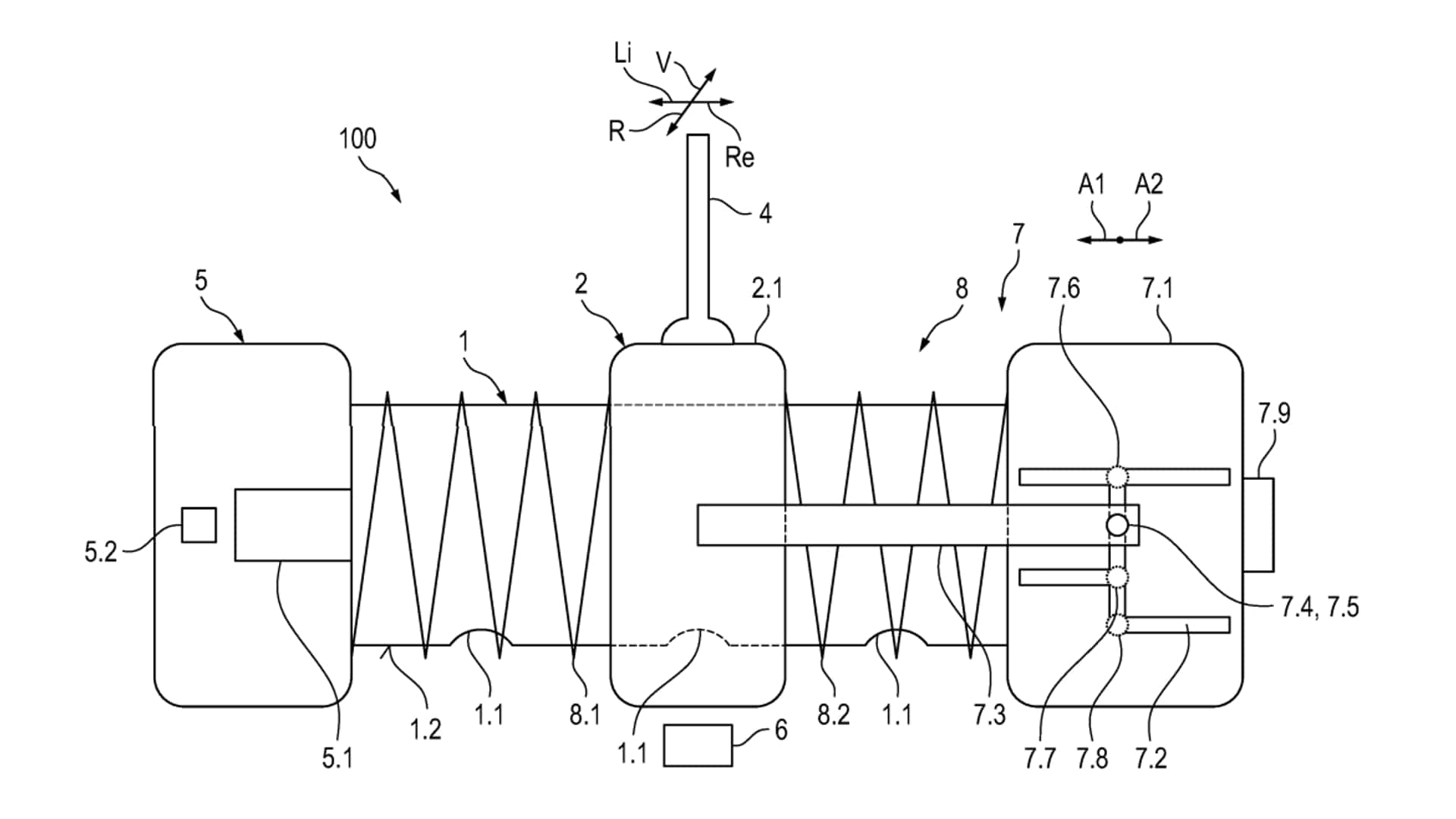
汽车媒体CarBuzz率先披露了这项专利,其核心为一套线控换挡机构:既可以像常规自动变速箱那样,通过换挡杆前后移动,切换行驶、空挡与倒挡;
也支持H型挡位布局,驾驶者可左右、前后拨动挡杆,像操作机械手动变速箱一样自主选挡。
系统通过传感器追踪挡杆动作,搭配弹簧与电机还原真实换挡手感。无论车辆底层搭载的是液力变矩器自动变速箱,还是双离合变速箱,都能提供接近手动变速箱的操控体验。

这一设计思路十分巧妙,也让人联想到科尼赛克的“光速变速箱”,但目前它仍仅为专利方案。车企常会为大量技术申请专利,最终未必都会量产落地,至少我们可以对此抱有期待。
